Перейти к публикации
nissan-stmotors.ru

creativ45

Бензобак. Бензин не перекачивается в левую половину бака.

Рекомендованные сообщения

Приветствую всех, кто сталкивался с тем, что бензин не перекачивается из правой половины бака (где один ДУТ стойт) в левую? Хитрого купил уже с такой проблемой. Заглох перед заправкой, докатил, заправился до полного бака, топлива вошло только 48 литров, а по книжке 60. Потом почти на пустой бак, снял правую крышку с ДУТ, а бензина в правой половине под завязку(перетекает в левую если покачать машину). Как бензин перекачивается в левую половину? Черная трубка на месте. Там дополнительный насос для перекачивания топлива чтоли стоит? Как бензин перекачивается? Куда копать?

Сам бензанасос не снимал, жду фильтр.

Поделиться сообщением


Ссылка на сообщение
Поделиться на других сайтах

Приветствую всех, кто сталкивался с тем, что бензин не перекачивается из правой половины бака

                                                         

 

                                                                        post-24203-0-00793000-1397399544_thumb.jpg

 

Выделенная красным штуковина является эжекторным насосом,  он, имеея поток топлива из редуктора давления,  создаёт отрицательное давление в "чёрном шланге", идущем из правой половины бака, таким образом уровень бензина балансирует в  половинках б/бака при достижении уровня переборки.Причиной неправильной балансировки уровня может быть негерметичность соединения эжекторного насоса с редуктором или разрыв(трещина) "чёрного шланга".При замене фильтра всё станет очевидным.

 

Принцип действия эжекторного насоса 

 

 

                                                                                                 Удачи!

Изменено пользователем Explorer
Оверквотинг

Поделиться сообщением


Ссылка на сообщение
Поделиться на других сайтах

у меня так было не давно, ехал загорелась лампочка, пока искал на местности (не в своем городе) заправку соответственно стоял и спрашивал у людей,  на ровной поверхности машина работая, бензин лампочка перестала гореть ну я тут и понял перекачал мне бензу!

Поделиться сообщением


Ссылка на сообщение
Поделиться на других сайтах

Приветствую всех, кто сталкивался с тем, что бензин не перекачивается из правой половины бака (где один ДУТ стойт) в левую? Хитрого купил уже с такой проблемой. 

Сам бензанасос не снимал, жду фильтр.

 

Запросто - фильтр стоит левый без одного необходимого отверстия.

Поделиться сообщением


Ссылка на сообщение
Поделиться на других сайтах

Фильтр сегодня поменял, отверстие было, фильтр оригинал стоял, поставил тоже оригинал, проблема не ушла, бензин так и не перекачивает, черный шланг впорядке, на вид все герметично, все узлы практически чистые.

В чем проблема так и не понял...

Нужно было сам эжектор карбклинером почистить, может бонально что то попало.

Поделиться сообщением


Ссылка на сообщение
Поделиться на других сайтах

Фильтр сегодня поменял

еще одно может быть где нибудь есть маленькое отверстие которое пропускает воздух с топливной системы, тем самым не создаеться давление и может не перекачиваться, когда открываешь крышку бензобака шипит?

Изменено пользователем Explorer
Оверквотинг

Поделиться сообщением


Ссылка на сообщение
Поделиться на других сайтах

Да, шипит. Когда снимал ДУТ (в правой половине), забыл воздух спустить крышку бака открутить, большую пробку открутил, убрал в сторону, только руки к датчику поднес, он "выпрыгнул" мне в руки с хлопком, я даже напугался  :D .

 

Жалко эжекторный насос этот в комплекте со шлангом всборе продается, цена на экзисте в районе 2.500.

Попробую прочистить и на "стенде" проверить его работу.

Заодно проверю держит или нет насос 3.5 очка и посмотрю помпу.

Поделиться сообщением


Ссылка на сообщение
Поделиться на других сайтах

Проблема оказалась в бензонасосе, выдает слабое давление, только только хватает на поддержание рабочего давления в рампе, в баке из клапана регулятора давления бензин бежит тонкой слабой струйкой. Этой струйки соответственно не хватает для работы струйного насоса, поэтому бензин и не перекачивается из правой в левую половину бака. 

К струйному насосу подключал электрический насос для подкачки шин, бензин нормально перекачивается струйником.

Буду менять бензонасос. Только уж очень он дорогой. ~3000 аналог, и ~4500 оригинал.

Поделиться сообщением


Ссылка на сообщение
Поделиться на других сайтах

Дак на форуме несколько бушек есть в продаже,  и вообше , т30 на разборках не редкий гость , их много , да и они старые .

 

Я дык вообше о такой проблеме впервые слышу . Может у машины был очень евреистый когда то хозяин и любил ездить с пустым баком постоянно , вот насос и перегревался всю дорогу .

Поделиться сообщением


Ссылка на сообщение
Поделиться на других сайтах

Что касаемо бензонасоса, то стоит у нас самый обычный насос, который ставаят сейчас на все ВАЗы, цена его в любом магазине 1000 рэ, а то и меньше.

Поделиться сообщением


Ссылка на сообщение
Поделиться на других сайтах

Действительно, насос подошел вазовский, цена 700р., теперь хитрюга стал резвее разгонятся при педальке в пол на трассе, видимо ему не хватало давления в рампе, раньше вяло себя вел на трассе с момента покупки у предыдущего хозяина.

А самое главное это то что наконец то стал перекачиваться бензин в левую часть бака!

Поделиться сообщением


Ссылка на сообщение
Поделиться на других сайтах

Если не секрет, то какой конкретно вазовский насос ? Или они на вазах одинаковые все?

Поделиться сообщением


Ссылка на сообщение
Поделиться на других сайтах

Если не секрет, то какой конкретно вазовский насос ? Или они на вазах одинаковые все?

Да, любой - они сейчас все одинаковые. Что на Опель, что на ДЭУ , что на Калину-малину. Причём качество у них приличное - написано БОШ и это правда. Дёшево продают, потому как на наши ВАЗы запчасть. Во как!

Поделиться сообщением


Ссылка на сообщение
Поделиться на других сайтах

Добрый день. У меня т-30 2005г. Бензин 2.5, автомат. Хочу Вас спросить как специолиста. У меня так же проблема с уровнем топливного датчика, при расходе топлива стрелка вместо того, что бы опускаться в низ, она поднимается в верх или вообще стоит на месте. Перечитал много мнений по этому поводу и с датчиками все более менее понятно. Вопрос в том, что не пойму как насос одновременно закачивает из двух половин бака и должны ли датчики работать синхронно или может закачка топлива идёт сначала из одного бака, а потом при перепаде давления в насосе открывается клапан на подачу из другого бака.

Поделиться сообщением


Ссылка на сообщение
Поделиться на других сайтах

Таких сложностей у нас нет. Насос забирает топливо только из левой по ходу движения половинки бака. И параллельно топливо постоянно перекачивается из правой в левую. Пока бензина много - оно просто мотается по кругу. Когда уровень падает ниже кардана - топливо постепенно собирается в левой половинке бака. Качает его дополнительный струйный насосик, работающий от давления обратки, стравливающейся через регулятор давления.

Датчики подключены просто последовательно.

Поделиться сообщением


Ссылка на сообщение
Поделиться на других сайтах

Интересно из за нерабочего инжектора давления способствующего для перекачки топлива, датчик уровня топлива тоже будет врать показания? а если честно так и не понял как перекачивается топливо и как создается давление при том что через регулятор давления наоборот происходит сброс излишки топлива( обратка).

Поделиться сообщением


Ссылка на сообщение
Поделиться на других сайтах

Ничего не понял... 

 

Если топливо не перекачивается между половинками то его количество будет показываться правильно. Иное дело что забрать топливный насос его не сможет.

 

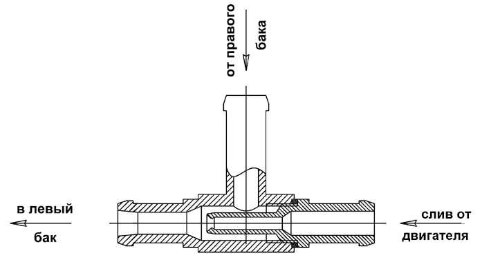
53.jpg

 

Вот принцип работы струйного насоса. Только у нас не слив от двигателя а от регулятора давления.

Поделиться сообщением


Ссылка на сообщение
Поделиться на других сайтах

А где стоит этот струйный насосик?

Изменено пользователем Explorer
Оверквотинг!

Поделиться сообщением


Ссылка на сообщение
Поделиться на других сайтах

А где стоит этот струйный насосик?а где стоит этот струйный насосик?

и обратка с двигателя идёт не через регулятор давления,если я правельно понимаю то регулятор давления сбрасывает лишнее топливо сново в бак при закачке насосом.

Поделиться сообщением


Ссылка на сообщение
Поделиться на других сайтах

Вот он. Я и говорил - у нас нет обратки, у нас струйный насос работает от сбрасываемого регулятором топлива.

post-17144-0-08641900-1427354747_thumb.j

Поделиться сообщением


Ссылка на сообщение
Поделиться на других сайтах

Присоединяйтесь к обсуждению

Вы можете опубликовать сообщение сейчас, а зарегистрироваться позже. Если у вас есть аккаунт, войдите в него для написания от своего имени.

Гость
Ответить в тему...

×   Вставлено в виде отформатированного текста.   Вставить в виде обычного текста

  Разрешено не более 75 эмодзи.

×   Ваша ссылка была автоматически встроена.   Отобразить как ссылку

×   Ваш предыдущий контент был восстановлен.   Очистить редактор

×   Вы не можете вставить изображения напрямую. Загрузите или вставьте изображения по ссылке.


  • Сейчас на странице   0 пользователей

    Нет пользователей, просматривающих эту страницу.

×
×
  • Создать...